Weather Alert: Severe winter storms may impact delivery times in some regions. We appreciate your patience as carriers work to deliver orders as quickly as possible. UPS Service Alerts.
  • $25.08
  • Free 30-day Returns
  • Volume Discounts Available
    • $12.88 ea.
    • $11.88 ea.
    • $10.88 ea.
    Ships from Hong Kong.
    Price alert
    Shop it at NeweggBusiness.

    Meet Your Seller

    Phoenix TB 6-RTK N-break test screw terminal block

    Limited time offer, ends 02/01 By Goldendisk

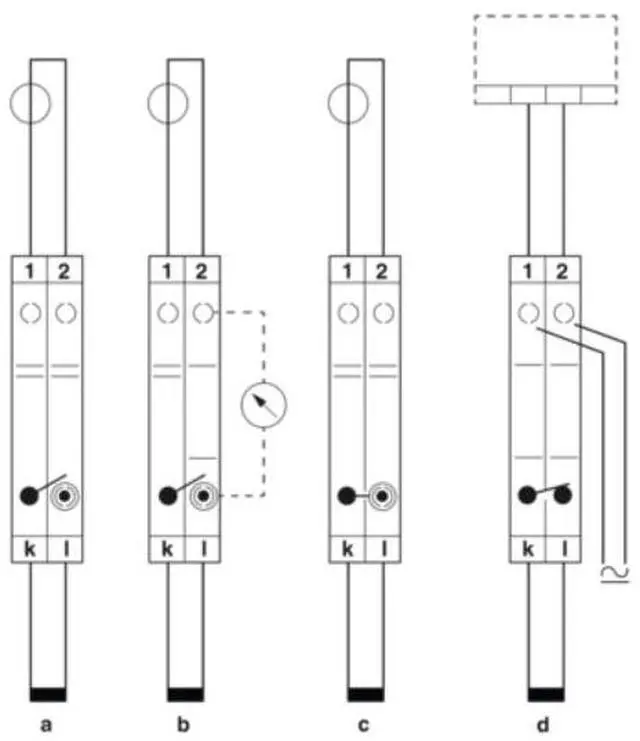
    • Disconnect the test terminals. When using the bridge component, a cover plate must be installed, which should have two test sockets for 4 mm test plugs, or for installing bridge rods or screw bridge components. Nominal working voltage: 500 V, Rated current: 41 A, Wiring method: Screw connection, Rated wiring capacity: 6 mm², Wiring capacity: 1 mm² - 6 mm², Installation method: NS 35/7.5, NS 35/15, NS 32, Color: Dark gray
    +
    +
    Overview
    Specs
    Reviews
    avatar

    Any questions? Our AI beta will help you find out quickly.

    Explanation


    Overview

    When using the bridge component, a cover plate must be installed.

    Warranty & Returns

    Warranty, Returns, And Additional Information

    Warranty

    • Please contact the Seller directly for warranty information. Warranty information may also be found on the Manufacturer's website.
    • CONTACT

    Return Policies

    • Return for refund within: 30 days
    • Return for replacement within: 30 days
    • This item is covered by Goldendisk Return Policy

    Manufacturer Contact Info

    LOADING...